Определение сторон света без компаса
Определение сторон света без компаса может быть полезным навыком, особенно в ситуациях, когда у вас нет доступа к компасу или требуется быстрое ориентирование в окружающей среде. Вот несколько методов, которые можно использовать для определения сторон света без компаса:
- Ориентирование по солнцу: Солнце может быть надежным ориентиром для определения сторон света. В полдень (когда солнце находится высоко в небе), вы можете определить направление на север, учитывая тот факт, что солнце находится на юге. Если солнце находится слева от вас, значит, север находится перед вами, а восток справа. Если солнце находится справа от вас, значит, север находится позади вас, а восток слева.
- Наблюдение за звездами: В ночное время звезды также могут служить ориентиром для определения сторон света. Одна из самых известных звезд, используемых для определения севера, — Полярная звезда (Полярная Северная). Она находится практически точно на северном небесном полюсе и можно использовать ее для определения направления на север.
- Определение по растительности: Некоторые растения имеют предпочтительное направление роста в зависимости от стороны света. Например, многие сорта солнцелюбивых цветов и растений обращаются к солнцу, поэтому они чаще всего будут обращены на восток. Если вы заметите, что растения смотрят в определенном направлении, это может указывать на определенную сторону света.
- Использование часовой стрелки: Если у вас есть наручные часы, вы можете использовать их для определения приблизительного направления. Укажите часовую стрелку на солнце, а затем представьте, что между часовой стрелкой и центром часов — полный путь солнца на его небесной дуге. Линия между центром часов и часовой стрелкой указывает на юг, а противоположная сторона — на север.
- Ориентирование по теням: Тени также могут помочь в определении направления. Если вы знаете приблизительное время суток, вы можете наблюдать за тенями, которые бросает солнце. Утром солнечные тени обычно указывают на запад, в полдень — на север, а после обеда — на восток.
Это лишь несколько примеров методов определения сторон света без компаса
Важно помнить, что эти методы могут быть приближенными и основаны на природных факторах, которые могут варьироваться в различных условиях и местностях. Поэтому всегда полезно иметь в виду ориентиры и ориентироваться на местные особенности окружающей среды для наиболее точного определения сторон света



Определение направления.
Основные правила и советы по начертанию вида слева по двум видам
Следующие правила и советы помогут вам начертить вид слева по двум видам:
Изучите оба вида внимательно. Перед тем, как начинать работать над видом слева, тщательно изучите оба вида, сравнивая их особенности и детали.
Проанализируйте пропорции и отношения
Обратите внимание на пропорции и отношения между различными элементами вида
Они могут быть ключевыми для правильного изображения вида слева.
Используйте точные измерения
При начертании вида слева очень важно использовать точные измерения. Используйте линейку или другие инструменты для определения размеров и радиусов элементов.
Отметьте ключевые детали
Отметьте ключевые детали каждого вида, которые помогут вам делать точные и детализированные наброски.
Стройте простейшие формы. При начертании вида слева, начинайте с построения простейших геометрических форм, таких как прямоугольники, круги и линии. Это поможет вам в дальнейшей работе над более сложными элементами.
Добавляйте детали и текстуры постепенно. Постепенно добавляйте детали и текстуры, начиная с самых крупных и простых элементов. Это поможет вам контролировать процесс и не перегружать вид слева излишними деталями.
Обращайте внимание на свет и тени. Свет и тени могут сильно влиять на общее впечатление от вида слева. Обратите внимание на источник света и проецируемые тени, и учтите их при начертании элементов вида.
Следуя этим основным правилам и советам, вы сможете успешно начертить вид слева по двум видам и достичь высокого уровня детализации и точности.
Психологический аспект ориентирования: самопознание и уверенность в себе
Самопознание – это процесс осознания себя, своих желаний, ценностей и способностей. Когда мы знаем свои сильные и слабые стороны, мы лучше понимаем, что может быть важным для нас при ориентировании. Например, человек, который знает, что у него есть хорошее чувство направления, может использовать это в своих интересах, выбирая профессию или хобби, связанные с ориентированием в пространстве. Самопознание позволяет нам также определить наши цели и мотивации, что является важным элементом в процессе ориентирования.
Уверенность в себе является важным фактором успешного ориентирования. Когда мы верим в себя и свои способности, мы более готовы выйти из зоны комфорта и предпринять необходимые шаги для достижения цели. Уверенность в себе также помогает нам преодолевать препятствия и преодолевать трудности, которые могут возникнуть на пути к достижению цели. Без уверенности в себе, мы можем испытывать страх и сомнения, которые могут препятствовать нашему ориентированию.
Ориентирование представляет собой не только физический процесс, но также психологический. Самопознание и уверенность в себе – это важные аспекты, которые помогают нам не только определить свое место в мире, но и достичь поставленных целей. Развитие этих аспектов может быть полезным для всех, кто хочет стать лучше в ориентировании и достижении успеха в жизни.
Развитие пространственных представлений у дошкольников: игры и упражнения
Обучать малыша ориентироваться в пространстве следует
на конкретных примерах. Легче всего это делать во время игр и повседневных
занятий. Например, попросите ребенка взять с полки книжку, которая стоит слева,
открыть правый ящик, надеть носок на левую ногу. Чем чаще, вы будете упоминать
понятия, которые нужно запомнить, тем лучше. Когда малыш пишет или рисует,
обязательно называйте, в какой руке он держит карандаш. Также на ведущую руку
ребенка можно надеть часы или браслет, так ему будет легче запомнить, где лево,
а где право.
Очень важно научить ребенка безошибочно определять «лево» и «право» в дошкольном
возрасте, так как от формирования пространственных представлений во многом
зависит, как будет протекать обучение чтению и письму, а также решение
математических задач в школе. Простые игры на
развитие ориентации в пространстве для дошкольников:
Простые игры на
развитие ориентации в пространстве для дошкольников:
«Веселая
зарядка». Попросите ребенка попрыгать сначала на
правой ноге, потом — на левой. Затем потрогать правой рукой левую ногу и,
наоборот, левой рукой правую ногу. Сделать два шага вперед и три шага
назад. Также можно бросать мяч сначала правой рукой, а затем – левой
С
помощью этих нехитрых упражнений, Вы сможете помочь малышу освоить
ориентирование в пространстве, а также разовьете у малыша внимание и
умение действовать по инструкции.
«Повторяй за
мной». Взрослый должен выполнить какое-либо
действие, одновременно комментируя его, а задача крохи – повторить
действие за взрослым. Если у малыша уже достаточно хорошо сформировались
пространственные представления, усложнить задачу можно «неверным»
комментированием, например, ведущий поднимает вверх правую ногу, а
говорит, что поднимает правую руку и т.д.
«Марионетки»
Попросите ребенка закрыть глаза, встаньте сзади и, держа его за
плечи, проведите малыша по определенному маршруту, например, два шага
вперед, один шаг вправо и три шага назад. Открыв глаза, ребенок должен
повторить этот маршрут.
«По
проторенным дорожкам». Во время
прогулки, находясь на достаточном расстоянии от дома, попросите ребенка
показать, как дойти домой
При этом очень важно, чтобы кроха проговаривал
вслух, в какую сторону надо повернуть.
«Найди клад».
Это упражнение похоже на известную игру «горячо –
холодно». Вам нужно спрятать в комнате какой-нибудь предмет, а ребенок
должен его отыскать, следуя Вашим подсказкам.
Формирование навыка ориентации в пространстве происходит у дошкольников на
основе сенсорного опыта. Чем больше органов чувств будет задействовано при
выполнении упражнений, тем лучше.
-
«Построй по
образцу». Нарисуйте или постройте из конструктора дом, а
ребенок должен будет его повторить. -
«Что
изменилось?». Выложите на стол перед
малышом несколько цветных карандашей и попросите его запомнить их
расположение. Затем кроха закрывает глаза, а Вы меняете местами два
карандаша. Ребенок должен ответить, что поменялось. -
«Найди по
схеме». Для развития пространственных представлений
очень полезны задания, где нужно пройти лабиринт по схеме. Умение работать
по наглядной модели пригодится малышу в школе. -
«Рассели
жильцов». Постройте из конструктора несколько домиков и
поставьте их в одну линию. Скажите малышу, что надо помочь игрушкам найти
свой домик. И дайте задание, например: ёжик живет в доме слева, а медведь
живет во втором справа и т.д.
·«В автомобиле или автобусе».Находясь
в транспорте, можно следить, куда поворачивает машина или автобус.
·«Браслет или ленточка». Можно
надеть браслет на правую руку, а потом посмотреться в зеркало, так ребёнок
узнает, что такое зеркальное отражение.
Когда
ребенок отлично будет ориентироваться в собственном теле, затем в окружающем
его пространстве, то тогда он без проблем сможет ориентироваться на листе
бумаги и выполнять достаточно сложные для дошкольника задания, такие как
графический диктант, лабиринт и т.п.
-
«Графический
диктант». На листе в клеточку малыш должен под диктовку
изобразить узор (например, одна клетка влево, затем две клетки вверх, три
направо и так далее). -
Раскраска. Попросите кроху раскрасить сначала верхние детали рисунка, а затем
нижние. Если в раскраске много деталей, пусть ребенок догадается, какой
элемент подходит под ваше описание (например, что-то в нижнем правом углу,
между домом и деревом).
Принципы ориентировки в пространстве
1. Ориентируйся на высокие точки
Одним из ключевых принципов ориентировки в пространстве является ориентация на высокие точки. Высокие точки, такие как здания, башни или холмы, позволяют создать крупномасштабные ориентиры, которые можно видеть издалека. Они помогают определить свою позицию и ориентироваться в окружающей среде. Например, если вы знаете, что высокая башня находится на севере, вы можете использовать ее как ориентир для определения своего направления.
2. Используй ориентиры на местности
Ориентиры на местности, такие как реки, озера, дороги или другие уникальные объекты, также являются важными принципами ориентировки в пространстве. Они отличаются от высоких точек тем, что могут быть использованы для ориентировки на местности в более мелком масштабе. Например, если вы знаете, что небольшая река проходит через поле и эта река находится на востоке, вы можете использовать ее для определения вашего положения и направления.
3. Используй компас
Компас является важным инструментом для ориентирования в пространстве. Он позволяет определить свое положение относительно сторон света (север, юг, восток, запад) и помогает в навигации. Например, если у вас есть компас и вы знаете, что ваш пункт назначения находится на севере, вы можете использовать компас, чтобы найти оптимальное направление движения.
4. Используй карты и схемы
Карты и схемы являются незаменимыми инструментами для ориентировки в пространстве. Они позволяют представить окружающую среду в более абстрактной форме и помогают определить путь и местоположение. Например, вы можете использовать карту города или план метро, чтобы найти определенный адрес или выбрать наиболее удобный путь.
5. Ориентируйся на свой интуитивный компас
Интуиция также может быть полезным инструментом для ориентирования в пространстве. Она основана на вашем восприятии окружающей среды и может помочь вам выявить уникальные особенности местности, которые могут быть использованы в качестве ориентиров. Например, вы можете чувствовать, что двигаетесь в правильном направлении, основываясь на своем внутреннем чувстве.
Используя эти принципы ориентировки в пространстве, вы сможете лучше ориентироваться в окружающей среде и достигать своих целей с меньшими усилиями. Ориентирование в пространстве помогает в навигации, планировании маршрута и уверенности в перемещении.
Виды
Вид – изображение обращенной к наблюдателю видимой части предмета, расположенного между наблюдателем и ПП. Для уменьшения количества изображений на видах допускается штриховой линией показывать невидимые контуры предмета (рис. 2).

Рис. 2
Виды используют для раскрытия наружных форм предмета.
Различают виды основные, дополнительные и местные.
Основные виды предмета – шесть его видов на основные ПП, совмещенные с плоскостью чертежа. На рис. 3 дано наглядное изображение предмета, помещенного внутри куба, и указаны направления проецирования предмета на основные ПП (грани куба) и названия получаемых видов, а на рис. 4 приведены шесть видов предмета на эти грани, развернутые в плоскость чертежа.
Грань 6 допускается помещать слева от грани 4.

Рис. 3

Рис. 4
Каждый основной вид имеет своё название (рис. 3, 4): 1 – вид спереди (главный вид); 2 – вид сверху; 3 – вид слева; 4 – вид справа; 5 – вид снизу; 6 – вид сзади.
Эти названия на машиностроительных и проекционных чертежах обычно не указывают. В строительных чертежах допускается надписывать название вида, например, «фасад» с присвоением ему буквенного, цифрового или другого обозначения.
Если основной вид находится в непосредственной проекционной связи с главным изображением на фронтальной ПП, то его никак не обозначают: не обозначены находящиеся в проекционной связи виды спереди на фронтальной ПП и сверху на горизонтальной ПП на рис. 2 и 5а.

Рис. 5
Если непосредственная проекционная связь основного вида с главным изображением на фронтальной ПП отсутствует и (или) основные виды отделены от главного изображения другими изображениями, то вид обозначают одной прописной буквой, надписываемой над ним, а у главного изображения стрелкой указывают направление проецирования (взгляда) и наносят над стрелкой (у стрелки) эту же букву (вид сверху A на рис. 5б).
Чертежи оформляют подобно, если основные виды расположены не на одном листе с главным изображением.
В строительных чертежах направление взгляда допускается указывать двумя стрелками аналогично указанию секущих плоскостей при обозначении разрезов. В строительных чертежах независимо от взаимного расположения видов допускается надписывать название и обозначение вида без указания направления взгляда стрелкой, если направление взгляда определяется названием или обозначением вида.
Для указания направления взгляда используют стрелки трех типов:

Угол при вершине стрелки равен 15°…20°.
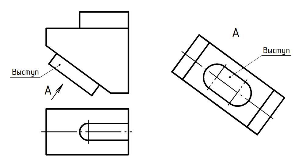
Дополнительный вид предмета (дополнительный вид) – вид предмета или его части на ПП, не параллельную ни одной из основных ПП, т. е. на дополнительном виде может быть дан вид предмета полностью (рис. 6) или показана отдельная часть предмета, ограниченная линией обрыва – тонкой сплошной волнистой линией (рис. 7б, в, г).

Рис. 6

Рис. 7
Дополнительный вид используют в случаях, когда часть предмета (выступ на рис. 6 и прорезь на рис 2.7б) нельзя показать на основных видах без искажения форм и размеров.
Если дополнительный вид находится в проекционной связи с соответствующим (основным) изображением, то направление взгляда и буквенное обозначение вида не наносят (рис. 7б).
Если для рациональной компоновки чертежа дополнительный вид параллельно переносят на свободное место, то над видом надписывают прописную букву, а у соответствующего вида наносят стрелку направления взгляда и эту же букву (рис. 6, 7в). Если же дополнительный вид изображен повернутым (рис. 7г), то к надписи над ним добавляют знак поворота , а при необходимости и угол поворота в градусах.
Местный вид предмета (местный вид) – изображение отдельного ограниченного участка поверхности предмета на одну из основных ПП (рис. 8). В зависимости от наличия или отсутствия проекционной связи местного вида с основным изображением, местный вид оформляют на чертеже подобно дополнительному. Местный вид может быть ограничен линией обрыва (вид А на рис.
или не ограничен (вид Б на рис. 8).

Рис. 8
Ошибки при написании слов «слева» и «справа»
В данном разделе рассмотрим наиболее распространенные ошибки, которые люди допускают в написании слов «слева» и «справа». Неверное написание данных слов может вносить путаницу в текст и приводить к неправильному смыслу предложения.
Первой ошибкой является замена слова «слева» на «справа» и наоборот. Часто в ходе написания текста люди ошибочно путают эти два понятия, что может существенно исказить значение высказывания
Поэтому важно помнить, что «слева» указывает на местоположение или направление слева от объекта, а «справа» — справа
Второй распространенной ошибкой является неправильное написание данных слов. Многие люди забывают про две гласные «е» в слове «слева», что в результате приводит к его искажению. Также часто встречается ошибка в слове «справа», когда вместо одной «п» пишут две.
Необходимо помнить, что правильное написание слов «слева» и «справа» является важным фактором для сохранения понятности и ясности текста. Чтобы избежать ошибок, рекомендуется использовать различные способы запоминания правильного написания этих слов, например, создавать свои ассоциации или использовать контекст.
| Ошибочное написание | Правильное написание |
|---|---|
| слево | слева |
| срава | справа |
| слевв | слева |
| спрва | справа |
Частые ошибки при использовании слова «слева»
Ошибка №1: Неправильное написание
Одной из самых распространенных ошибок является неправильное написание слова «слева». Вместо этого, люди часто пишут его как «слэва» или «слэво». Правильно писать это слово в оригинальной форме – «слева».
Ошибка №2: Несоответствие контексту
Еще одна распространенная ошибка – неправильное использование слова «слева» в контексте предложений. Данный термин употребляется для указания направления или положения объекта, относительно чего-то другого. Однако, в некоторых случаях люди используют его не в том значении, что приводит к неправильному смыслу предложения. Будьте внимательны при использовании слова «слева» и убедитесь, что оно соответствует контексту вашего высказывания.
Ошибка №3: Насильственное использование
Еще одна ошибка, которую мы хотим подчеркнуть, – это принудительное использование слова «слева» в тексте без необходимости. Некоторые люди вставляют его в предложения неуместно, просто чтобы оно звучало более литературно или украсило их речь
Важно помнить, что использование слова «слева» должно быть естественным и уместным в контексте, чтобы избежать путаницы и нелепости в вашем высказывании
Ошибка №4: Неправильное произношение
Хотя данный раздел посвящен ошибкам в письменном использовании слова «слева», мы хотим также упомянуть и неправильное произношение этого слова. Некоторые люди читают его как «слива», что вносит путаницу в коммуникацию и может повлиять на понимание собеседником
Важно произносить слово «слева» правильно, чтобы быть ясно понятым
Частые ошибки при использовании слова «справа»
Ошибки в использовании слова «справа» могут встречаться довольно часто. Они могут возникать из-за неправильного понимания значения слова или неверного применения в контексте.
Во-первых, многие люди часто путают написание слова «справа». Вместо правильного написания часто используют «спрва» или «спрваа», что является ошибкой.
Во-вторых, ошибочно пишут слитно с другими словами. Например, «справадела», «справана» или «справаЯ», что неправильно с точки зрения орфографии.
В-третьих, частая ошибка заключается в неправильном использовании слова «справа» в предложении. Отсутствие союза «и» перед словом «справа» часто вводит в заблуждение, ведь в некоторых случаях необходимо использовать союз для связи идей.
Наконец, следует заметить, что не всегда слово «справа» означает физическое направление. В тексте его можно использовать как идиому или символическое выражение.
Важно использовать слово «справа» правильно и грамотно. Учитывайте указанные рекомендации и старайтесь избегать этих частых ошибок
Знание правильного написания и использования слова «справа» поможет вам избежать недоразумений и сделать вашу речь более точной и ясной.
Ключевые элементы ориентировки в пространстве
В ориентировке в пространстве существуют несколько ключевых элементов, которые помогают нам определить наше местоположение и направление движения. Эти элементы включают в себя:
-
Ориентиры. Ориентиры — это объекты или места, которые можно использовать для определения своего положения. Они могут быть видимыми или невидимыми, и часто являются уникальными и легко различимыми. Примерами ориентиров могут быть высокие здания, горы, реки, озера и т.д. Ориентиры играют важную роль в ориентировке в пространстве, поскольку они позволяют нам создать карту местности и определить маршрут движения.
-
Компас. Компас — это инструмент, который помогает нам определить направление движения. Он основан на магнитных свойствах Земли и показывает направление на северный полюс. С помощью компаса мы можем определить свое текущее направление, а также ориентироваться на карте местности.
-
Карты. Карты — это графические изображения местности, которые помогают нам понять и ориентироваться в пространстве. Карты могут включать различные элементы, такие как ориентиры, дороги, реки и т.д. Они могут быть физическими (отображающими реальные объекты) или абстрактными (символическими или стилизованными). Хорошо составленная карта поможет нам определить свое местоположение и выбрать наиболее эффективный маршрут движения.
-
Знание местности. Знание местности — это знания о конкретной местности или области, в которой мы находимся. Чем больше мы знаем о местности, тем легче нам будет ориентироваться и выбирать оптимальные маршруты движения. Знание местности может включать знание об ориентирах, особенностях местности, географических объектах, дорогах и т.д.
-
Навигационное оборудование. Навигационное оборудование — это специальные инструменты или устройства, которые помогают нам ориентироваться в пространстве. Это может быть GPS-навигатор, мобильное приложение для карт, компас, альтиметр и т.д. Навигационное оборудование значительно упрощает и ускоряет процесс ориентировки.
При ориентировке в пространстве важно учитывать все эти элементы и использовать их в сочетании для достижения наших целей. Наличие ориентиров, знание местности и использование навигационного оборудования позволяют нам двигаться в пространстве более эффективно и безопасно
Виды собирающих и рассеивающих линз
Линза представляет собой прозрачное тело, которое ограничено двумя сферическими поверхностями.
Линзы, которые в средней части больше, чем у краев, называются выпуклыми (1, 3, 5). Линзы, которые посередине тоньше, чем у краев, называются вогнутыми (2, 4, 6). Линза может быть ограничена двумя выпуклыми поверхностями, ее называют двояковыпуклой (1). Линза 2 — двояковогнутая, 3 — плосковыпуклая, 4 — плосковогнутая.
Наиболее простыми являются линзы, у которых толщина в средней части значительно меньше радиусов кривизны поверхностей линзы. Такие линзы называют тонкими. Тонкая линза дает неискаженное изображение только в том случае, если свет монохроматический и предмет достаточно мал, следовательно, лучи распространяются вблизи главной оптической оси. Такие лучи получили название параксиальных.
Рассмотрите основные характеристики линзы.
Условия, при одновременно выполнении которых линза является собирающей:
- Толщина в центре больше толщины у краев.
- Ее показатель преломления больше показателя преломления окружающей среды.
При невыполнении (или выполнении) только одного из этих условий, линза является рассеивающей.



























